-
脈沖袋式除塵器噴吹系統的構造
發布日期:2017-12-05
脈沖袋式除塵器脈沖噴吹系統由脈沖控制儀,控制閥,脈沖閥,噴射管組成.脈沖控制儀它是脈沖袋式除塵器的主要控制設備.控制閥是用來開閉或切換氣路的閥門.脈沖閥和電磁閥連用,作為脈沖控制器的執行機構,實現脈沖清灰,使濾袋"再生",恢復過濾性能. -
山東維坊膨潤土廠ZC型回轉反吹扁袋式除塵器交付使用
發布日期:2018-01-09
ZC型回轉反吹扁袋式除塵器主要由上箱體,中箱體,下箱體,反吹風清灰系統等四部分組成.除塵器殼體按旋風除塵器流線型設計,能起局部旋轉作用,預分離粗顆粒粉塵.含塵氣體由切向進入袋室上部空間,較大粒徑的粉塵在離心力作用下沿筒壁落入灰斗,小粒徑的粉塵經過濾室 -
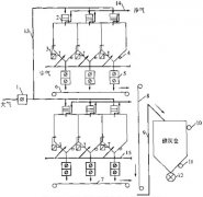
分室反吸(吹)風清灰袋式除塵器的結構特性
發布日期:2016-09-22
反吹風布袋除塵器通常都設有若干個過濾室,各個過濾室依次進行反吸清灰,其他仍在正常過濾.過濾時,三通切換閥接通含塵氣體管道,切斷反吸風管道,使含塵氣體進入濾袋內,將濾袋吹脹,粉塵被阻留在濾袋的內表面,凈化后的氣體進入袋室,從除塵器上部的百葉窗排入大氣. -
分室反吸(吹)風清灰袋式除塵器在水泥行業的應用
發布日期:2017-12-05
分室反吸(吹)風清灰袋式除塵器是采用分室結構,利用閥門逐室切換氣流,在反吸(吹)氣流作用下,使濾袋縮癟或鼓脹實現清灰。 -
除塵濾袋的品種繁多 我們該如何選擇
發布日期:2017-12-05
除塵濾袋堪稱除塵器的心臟,濾袋的選用至關重要,它直接影響除塵器的除塵效果,選用除塵濾袋應從下列幾個方面選擇:氣體的溫度,潮濕度和化學性,顆粒大小,含塵濃度,過濾風速,清灰方式等因素綜合考慮.下面簡單介紹一下除塵濾袋選擇的原則及注意事項,詳情請致電 -
布袋除塵器分類選型介紹
發布日期:2017-12-05
選擇或設計袋式除塵器三步曲:1.首先應根據含塵空氣的物理,化學性質及經濟指標選擇合適的濾料和清灰方式;2.然后根據清灰方式的不同,確定過濾風速,計算必須的過濾面積;3.O后確定除塵器的形式,濾袋的尺寸和個數. -
除塵系統自動控制設計-電除塵系統自動控制
發布日期:2017-12-05
除塵系統自動控制設計 一、除塵系統自動控制設計注意事項 ① 除塵設備類型、規格、用途、操作方法多種多樣,相互間差別較大,自動控制系統要針對具體除塵系統和具體設備有針對性地進行自動控制沒計。 ② 除塵系統凈化有爆炸性、腐蝕性或潮濕、有害含塵氣體時 -
除塵系統自動控制設計-袋式除塵系統的自動控制
發布日期:2018-07-01
除塵器系統自動控制設計 一、除塵器系統自動控制設計注意事項 ① 除塵設備類型、規格、用途、操作方法多種多樣,相互間差別較大,自動控制系統要針對具體除塵器系統和具體設備有針對性地進行自動控制沒計。 ② 除塵系統凈化有爆炸性、腐蝕性或潮濕、有害含塵氣體時 -
電磁脈沖閥的使用及使用中的常見問題
發布日期:2017-12-05
電磁脈沖閥是脈沖噴吹清灰裝置的執行機構和關鍵部件,主要分直角式脈沖閥,淹沒式脈沖閥和直通式脈沖閥三類,國產電磁脈沖閥直角閥和直通閥工作壓力為0.4~0.6Mpa;電磁脈沖閥在安裝調試及使用過程中難免出現一些問題,根據我們多年經驗總結如下. -
袋式除塵器的維護
發布日期:2017-12-05
袋式除塵器的常見故障大體上可分為兩類:一類是機電產品的損壞或失靈等,這是設備制造,安裝,備件和檢修等工作質量不合格造成的;另一類是結露,燃燒,漏風等工藝技術方面的故障.為了使系統能保持有效地運行,必須重視維修工作. -
袋式除塵器的正確操步驟及日常維護常識
發布日期:2017-12-05
袋式除塵器的運轉可分為試運轉與日常運轉.首先,進行試運轉時,必須對系統的單一部件進行檢查,然后作適應性運轉,并要作部分性能試驗.在日常運轉中,特別是對袋式除塵器的效能的檢查是很有效的,要注意主機設備負荷的變化會對除塵器性能產生影響.因此,在機器開動之 -
袋式除塵器選型時需要注意的三個關鍵因素
發布日期:2017-06-28
袋式除塵器設計的第一步必須了解所處理含塵氣體的工藝參數(包括氣體流量,溫度,濕度,含塵濃度,氣體和灰塵的性質等).布袋式除塵器設計中主要考慮的問題是:除塵器壓力損失,除塵器過濾速度,除塵濾袋面積的確定.對于大型反吹清灰袋式除塵器,濾袋規格(長度與直徑)的 -
水泥廠立窯煙塵的特性
發布日期:2017-12-05
水泥廠立窯煙塵的特性:①煙氣中粉塵濃度波動范圍大;②立窯煙氣性質變化頻繁,濕含量變化范圍大,煙氣溫含量高,露點溫度較高;③煙氣溫度波動范圍大;④煙氣中含有SO2,具有強烈的腐蝕性. -
烘干機布袋除塵器的特點
發布日期:2017-12-05
文章來源: http://www.tjshenya.com.cn/ 更新日期:2016年9月22日 烘干機的煙氣溫度、含塵濃度和含濕量等波動范圍大,特別是煙氣露點溫度高,一臺烘干機往往烘干多種物料,粉塵性質變化頻繁,煙氣具有腐蝕性,再加上烘干機時開時停,這些都給烘干機的除塵帶來極大 -
防腐蝕抗結露烘干機袋式除塵器
發布日期:2017-12-05
水泥廠烘干機布袋式除塵器的腐蝕與除塵布袋結露問題一直是人們比較關注的問題,我公司集環保行業其它產品之優點開發了一款抗結露耐腐蝕布袋式除塵器,密封、保溫、防腐蝕性能更好。 -
水泥磨的布袋式除塵器在蘭州試車成功
發布日期:2017-12-05
水泥廠磨機運轉時會產生大量粉塵,如不將其含塵氣體經過布袋式除塵器凈化直接排入大氣,必然會污染環境。所以水泥磨要通風除塵加裝布袋除塵器,現在我國大、中型水泥廠的水泥磨機,絕大多數都是采用布袋式除塵器進行除塵。 -
水泥廠布袋除塵器選擇多大過濾風速比較合適
發布日期:2017-12-05
用于水泥工業煙氣凈化系統袋式除塵器的濾(布)袋材質大體上有以下三類,而濾袋過濾風速與材質有關:①工業滌綸:使用溫度一般應小于120℃,允許過濾風速可達1m/min以上.②高溫聚酯型濾袋:如Nomex,允許使用溫度200℃,過濾風速可取0.6~0.8m/min. -
如何選擇最合適的除塵布袋(濾袋)
發布日期:2017-12-05
各種除塵布袋(濾料)在滿足溫度,濕度以及化學腐蝕等其它條件的要求方面,不可能具有完美無缺的性能.因此,正確選擇除塵布袋(濾料)將成為袋式除塵器充分發揮其效能的重要環節;①根據粉塵性質選擇除塵布袋(濾料);②根據清灰方式選擇除塵布袋(濾料)
